Nº: 522295 49
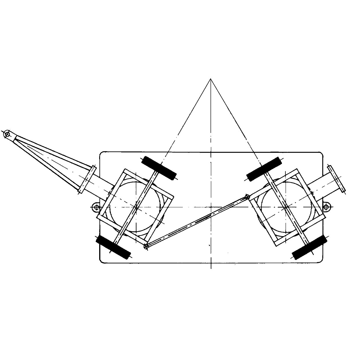
Reboque direção por travessa giratória dupla de 4 rodas, capacidade de carga 3 t
superfície de carga 2,0 x 1,0 m, rodas em borracha maciça
Comprimento da superfície de carga [mm]
Largura da superfície de carga [mm]
Altura de carga [mm]
Nº: 522295 49
Reboque direção por travessa giratória dupla de 4 rodas, capacidade de carga 3 t
superfície de carga 2,0 x 1,0 m, rodas em borracha maciça
superfície de carga 2,0 x 1,0 m, rodas em borracha maciça
Comprimento da superfície de carga [mm]
Largura da superfície de carga [mm]
Altura de carga [mm]
3.590,- €
Preço / unid. (Preço s/IVA)
Prazo de entrega: 11-12 semanas
Boas razões para fazer compras connosco
- Até 15 anos de garantia
- 30 dias de direito de devolução
- Envio gratuito a partir de 150 € (s/IVA)
- Fornecimento rápido
Temos todo o gosto em ajudá-lo
+351 800 208 540
Segunda a Sexta-feira das 9:00 - 18:30 H
Tem alguma questão sobre este produto?3.590,- €
Preço / unid. (Preço s/IVA)
Descrição do produto
- Raio de viragem reduzido – ângulo de viragem de 35° – à prova de tombamento
- Superfície de carga em madeira impregnada para apoio suave e resistente às intempéries da carga
- Lança de tração desmontável, acoplamento de reboque à frente e atrás
- Construção robusta em aço soldado
- Requer pouca manutenção
- Manutenção da trajetória
- Duradouro
- Tirantes e barras de direção com cabeças esféricas sem manutenção
- Conforme as determinações de segurança da UVV 48 Veículos de tração BGV D27 (Alemanha)
Chassi
Construção da armação com rebordos redondos. Cantos em tubo para encaixar os fueiros, paredes laterais ou olhais de fixação. Revestido a madeira de pinho, impregnada permanentemente. Acoplamento de reboque.
Versão das rodas
Pneus de borracha maciça ou pneumáticos. Cubos com rolamento de esferas duplo.
Pintura
Laranja puro RAL 2004.
Direção a 2 eixos por travessa giratória, limitação do ângulo de direção. Lança triangular, ajustável em altura, com dispositivo de segurança contra queda.
Construção da armação com rebordos redondos. Cantos em tubo para encaixar os fueiros, paredes laterais ou olhais de fixação. Revestido a madeira de pinho, impregnada permanentemente. Acoplamento de reboque.
Versão das rodas
Pneus de borracha maciça ou pneumáticos. Cubos com rolamento de esferas duplo.
Pintura
Laranja puro RAL 2004.
Direção a 2 eixos por travessa giratória, limitação do ângulo de direção. Lança triangular, ajustável em altura, com dispositivo de segurança contra queda.
Mediante pedido
Travão de imobilização, amortecimento por mola de lâmina e eixo de borracha, pneus CSE, painéis, estrutura superior que protege das intempéries, iluminação, revestimento de chapa, fueiros, travão pneumático, painel de grade, estrutura de grade e painéis rebatíveis em alumínio, rampas de acesso rebatíveis, travão elétrico, pintura especial, pés de apoio, atrelado para material comprido, atrelado para material comprido com reboque regulável, atrelado especial com travão de imobilização, dispositivo para regular a altura da lança, olhal de tração acotovelado, chassis rotativo montado de modo fixo, cunha de ação dupla com corrente e suporte, lança acotovelada com dispositivo para regular a altura da lança, plataforma rebaixada, plataforma rebaixada com travão de imobilização por manivela, plataforma rebaixada com estrutura superior que protege das intempéries e outros acessórios
Travão de imobilização, amortecimento por mola de lâmina e eixo de borracha, pneus CSE, painéis, estrutura superior que protege das intempéries, iluminação, revestimento de chapa, fueiros, travão pneumático, painel de grade, estrutura de grade e painéis rebatíveis em alumínio, rampas de acesso rebatíveis, travão elétrico, pintura especial, pés de apoio, atrelado para material comprido, atrelado para material comprido com reboque regulável, atrelado especial com travão de imobilização, dispositivo para regular a altura da lança, olhal de tração acotovelado, chassis rotativo montado de modo fixo, cunha de ação dupla com corrente e suporte, lança acotovelada com dispositivo para regular a altura da lança, plataforma rebaixada, plataforma rebaixada com travão de imobilização por manivela, plataforma rebaixada com estrutura superior que protege das intempéries e outros acessórios
As características técnicas específicas destes reboques exige uma fabricação por encomenda.
Por isso, tenha em consideração que estes artigos não são passíveis de devolução.
Por isso, tenha em consideração que estes artigos não são passíveis de devolução.
Dados técnicos
| Capacidade de carga a 6 km/h | 3 t |
|---|---|
| Direção | travessa giratória dupla de quatro rodas |
| Material da superfície de carga | revestimento em madeira, impregnado |
| Tipo de pneus | pneu simples |
| Característica | lança de tração desmontável |
| Superfície | pintado |
| Cor | laranja puro RAL 2004 |
| Ângulo de brecagem | 35 ° |
| Diâmetro do olhal de tração | 35 mm |
| Tipo de produto | reboques industriais |
| Fornecimento | montado |
| Comprimento da superfície de carga | 2000 mm |
| Largura da superfície de carga | 1000 mm |
| Altura de carga | 535 mm |
| Versão das rodas | borracha maciça |
| Largura das rodas | 75 mm |
| Diâmetro das rodas | 400 mm |
| Peso | 300 kg |
Sustentabilidade
Produto com potencial de desenvolvimento
Este produto ainda não cumpre um número suficiente dos nossos critérios de sustentabilidade. Isto não significa que não tenha propriedades sustentáveis – no entanto, a pontuação global é inferior a 3 pontos. Por esta razão, (ainda) não é considerado particularmente sustentável. A nossa avaliação de sustentabilidade baseia-se em critérios ecológicos, sociais e económicos transparentes e claramente definidos. O objetivo é destacar o potencial de desenvolvimento e criar maior transparência.
Para obter mais informações sobre a avaliação de produtos e a nossa iniciativa de sustentabilidade, consulte a nossa página de informações.
Este produto ainda não cumpre um número suficiente dos nossos critérios de sustentabilidade. Isto não significa que não tenha propriedades sustentáveis – no entanto, a pontuação global é inferior a 3 pontos. Por esta razão, (ainda) não é considerado particularmente sustentável. A nossa avaliação de sustentabilidade baseia-se em critérios ecológicos, sociais e económicos transparentes e claramente definidos. O objetivo é destacar o potencial de desenvolvimento e criar maior transparência.
Para obter mais informações sobre a avaliação de produtos e a nossa iniciativa de sustentabilidade, consulte a nossa página de informações.
Variantes
3.590,- €
Preço / unid. (Preço s/IVA)
Prazo de entrega: 11-12 semanas
Boas razões para fazer compras connosco
- Até 15 anos de garantia
- 30 dias de direito de devolução
- Envio gratuito a partir de 150 € (s/IVA)
- Fornecimento rápido
Temos todo o gosto em ajudá-lo
+351 800 208 540
Segunda a Sexta-feira das 9:00 - 18:30 H
Tem alguma questão sobre este produto?


















